Home : Archive : TSV 11-20 : TSV 15 : Regular

Doctor's Dilemma

By Jon Preddle

In TSV 12 I gave my theories on the multi-Doctor stories. However I was not overly satisfied with the reply. So, with a little help from Mr Scoones (the one who gave me the question in the first place!) here is one solution to that annoying problem:

THE FIRST DOCTOR

[diagram]

KEY

  1. The Doctor lands in London in 1966.
  2. After the adventure of the War Machines, the Doctor takes a rest at Charles Sumner's place. While walking in the garden, he is contacted by the Time Lords and brought to Gallifrey. There, he is told that his two future selves are not making much progress and so...
  3. ... he is sent to Earth to sort them out. He meets the 'dandy' and the 'clown'.
  4. With the danger still not resolved, the Time Lords recall him and request that he makes the dangerous journey through the black hole to Omega's world. Reluctantly he agrees.
  5. He travels through the Hole in his Time Bubble where he makes contact with the Doctors over the TARDIS scanner.
  6. As Omega's world is destroyed, the Time Bubble breaks free and travels to Earth. He congratulates the Doctors and...
  7. ... is snatched away by the Time Lords and returned to 1966.
  8. Once back in the garden the Doctor is about to have his mind wiped by the Time Lords when suddenly a black obelisk imprisons him and deposits him on a future Gallifrey in the death Zone. There he meets his other future selves, Tegan, Turlough, Sarah, the Master, the Brigadier and Borusa.
    (The First Doctor clearly recalls his adventure with Omega because he asks where the 'little fellow' is.)
  9. Rassilon frees the Doctors and returns them to their correct place in time. En route, their minds are wiped of the adventure. The Omega adventure is also deleted.
  10. The Doctor once again finds himself back in the garden - but with no recollection of what has happened to him.
  11. He leaves 1966 with two new companions...
  12. ...and on to adventures anew

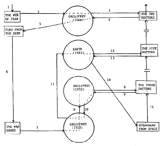
THE SECOND DOCTOR

[diagram]

KEY

  1. The Doctor lands on Earth, 1960s and meets the Brigadier in the London Underground.
  2. Leaving Earth, the TARDIS is snatched by the Time Lords (this time it is the Celestial Intervention Agency (See The Deadly Assassin episode 1) and the Doctor is persuaded by them to stop the work at Space Station Camera. The High Council of the Time Lords knows nothing of this. Victoria decides to stay on Gallifrey to study graphology - and also as a 'guarantee' of the Doctor's cooperation.
  3. The TARDIS travels to the station under remote control of the CIA.
  4. The CIA bring the TARDIS back to the space station. The Doctor and Jamie's memories are wiped of the affair.
  5. The TARDIS is then returned to its original flight path, and on to other adventures. The Doctor doesn't realise it, but the CIA have been manipulating his TARDIS for some time now. His arrivals on planets are not always 'coincidences'...
  6. The CIA sends the Doctor on other secret missions. But the Doctor eventually discovers that he is being used. So when he has no other choice than to call the High Council about the War Lord, he tries to escape. The High Council bring the Doctor...
  7. ...to Gallifrey and put him on trial. The CIA remain behind the scenes. Jamie and Zoe have their minds wiped by the Council and are returned to their own times. The Doctor is sentenced. The CIA convinces the Council that the Doctor could be put to good use as an agent on Earth and so that is where he is to be 'exiled'.
  8. Awaiting his sentence, the Doctor is scooped by future Time Lords (because their records showed them that he could be located on Gallifrey at that precise moment in time). They brief him of the problem...
    ... and send him to Earth to help his future self defeat Omega.
  9. The future Time Lords return him to Gallifrey, and prepare to wipe his mind when the Council send him on his term of exile.
  10. The Doctor is tried. The reason he does not like the faces offered to him by the Council is because he already knows what he is going to look like, and the new face is not one of the ones shown.
  11. The TARDIS is sent to Earth, but on the way, the Doctor manages to bypass the controls and ends up on Earth in 1983. He reads of the UNIT reunion in the paper and visits the Brigadier.
  12. But they are time scooped to Gallifrey by Borusa and put in the Death Zone. The Doctor sees through the phantom Jamie and Zoe because of the recent trial.
  13. Rassilon returns the Brigadier to Earth...
  14. ... and replaces the Doctor back on the flight path programmed by the Time Lords. The Doctor's mind is wiped of the affair. An automatic process triggers the Doctor's regeneration, and the trauma causes further amnesia. He arrives on Earth and taken to hospital.
  15. Now at UNIT he works for them - and secretly, unbeknown by him, for the CIA...

THE THIRD DOCTOR

[diagram]

KEY

  1. The Doctor is scooped by Borusa and taken to a future Gallifrey and placed in the Death Zone. He meets a future Sarah (who tells him he will change into 'teeth and curls'), plus the new Master, and the Brigadier.
  2. Rassilon frees him and...
  3. ...wipes his mind of the affair...
  4. ...returning him to Earth with Bessie to the same moment in space and time from which he left. To the Doctor, none of it ever took place.

This should explain how it all is possible without affecting continuity.

And now for the tricky part - who is the Valeyard, and where does he come from...

To be continued...

Footnote

Many of my continuity-based articles in TSV have, in some form or another, been revised for my book Timelink (first published in 2000). This multi-Doctor analysis from 1989 is no exception. Interestingly, in the 11 years between TSV15 and Timelink, it is only the timeline for the second Doctor that I have drastically altered for Timelink.

The notion that Victoria was studying graphology on Gallifrey (which was actually an idea that Paul Scoones came up with!) doesn't make sense to me now; I prefer to leave her educational sojourn to be at an unidentified location.

I think I should point out that when I say the Doctor's mind was wiped, I mean it was only the memory of the events of the multi-Doctor story that was erased.

In terms of the timeline diagram, without resorting to drawing a new flow-chart, the main changes I have made for Timelink are the positions for The Three Doctors and The Five Doctors. In TSV15 I speculated that the Doctor was, in both cases, time-scooped while he was in the holding cell awaiting sentencing at his trial on Gallifrey.

In Timelink I have moved The Three Doctors to take place between The Space Pirates and The War Games (the brief clip of the second Doctor seen in The Three Doctors is from the "untelevised" adventure in which he was taking part when he was scooped). The Five Doctors now takes place after The War Games (the Doctor temporarily seizes control of the TARDIS while being sent to Earth to commence his exile (sorry, but I don't subscribe to the Season 6b theory!).

For a more detailed explanation for all of this, you'll just have to buy my book! :)

Jon Preddle
May 2003

This item appeared in TSV 15 (September 1989).

Index nodes: Doctor's Dilemma, The Three Doctors, The Five Doctors, The Two Doctors